Както гласи популярна интернет поговорка: съвременните проблеми изискват съвременни решения. И това е изненадващи универсална забележка. Например, руската УАЗ с четвърти рестайлинг на „Патриот“, докато стандартът Евро 5 се завръща в рамките на „Лада“. Междувременно Ford се опитва да прикрепи батерия към покрива на електромобил, за да увеличи пробега, а Ferrari обмисля въвеждането на микрореактивни двигатели в своите суперавтомобили. Глобалният пазарен лидер Toyota иска да вгради специално въже за теглене към оборудването на нов SUV.
Засега всички тези идеи съществуват само на хартия, но под формата на патенти. Ето и някои от най-интересните решения, патентовани през годината:
Резервна батерия на покрива на автомобила
Може би една от най-противоречивите идеи в списъка е решение, наскоро патентовано от Ford. Патентът се нарича „Резервна батерия, монтирана на покрива за електрически превозни средства“. Всъщност това казва всичко: схемата, илюстрираща патента, показва точно това. Опростеният контейнер, напомнящ на обикновен багажник, е монтиран на покрива на автомобила и е оборудван с кабел за зареждане. Предполага се, че в кутията може да има отвори за въздушно охлаждане на батерията по време на движение.
Разбира се, тази идея има повече теоретични недостатъци, отколкото предимства. Първо, батерията тежи много - и колкото по-голям е нейният капацитет, толкова по-голямо е теглото, така че нейното инсталиране едновременно увеличава и намалява ефекта от това действие. Второ, поради значителното си тегло, вероятно ще бъде възможно да се монтира тази акумулаторна инсталация на покрива само с помощта на спомагателни устройства. И трето, човек може само да си представи колко катастрофално акумулаторът на покрива влияе върху центъра на тежестта, особено при автомобил като Ford Bronco, който намира място в схемата.
Като цяло батерията на покрива е една от най-кривите „патерици“, които можете да си представите за електрическа кола. Но тъй като съвременните проблеми изискват съвременни решения, ще бъде интересно да видим дали този патент ще намери място на поне един сериен модел на Ford.
Резервна батерия на покрива на превозното средство (ГАЛЕРИЯ):
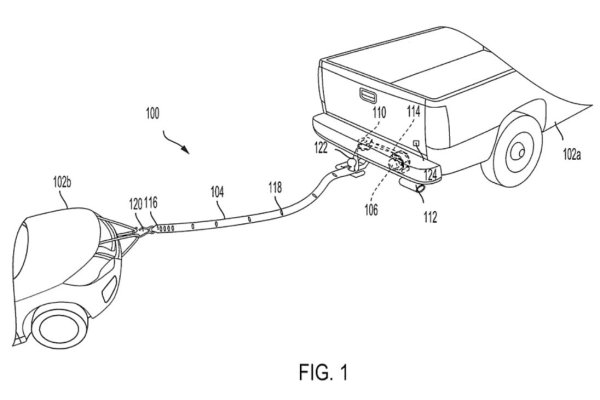
Въже за теглене, което се издърпва
„Toyota преоткри лебедката“, ще кажат някои и като цяло ще са прави. В крайна сметка същността на патента на Toyota наистина напомня дизайна на лебедка: барабан с храпов механизъм, кабел и куки. Но всичко това трябва да се използва не като лебедка, а като въже за теглене.
Идеята тук също е много проста: барабан с кабел е монтиран на скрито място в колата - Toyota предполага, че това ще бъде ниша на колелото или друго пространство. Ако е необходимо теглене, кабелът се издърпва и закрепва към тегленото превозно средство и след това към устройството за теглене на влекача: за тази цел могат да се използват например прорези в еластичния кабел.
Предимството на японското изобретение е, че опъването на въжето преди старта на тегленето се осигурява не от движението на влекача напред, а от храпов механизъм, с който кабелът се опъва преди потегляне. Отбелязва се, че това може да бъде полезно, например, в условия на ограничено пространство.
Въже за теглене, прибрано в специална секция в превозното средство (ГАЛЕРИЯ):
Прибиращи се канарди
В някои моменти от своята история Ford е можел дори да се конкурира с Ferrari, така че спортното инженерство на компанията е на ниво. И ето малко практическо доказателство за това: патент за прибиращи се канарди. Канардите или, ако предпочитате, елерони, са малки „крила“, извити елементи, обикновено поставени по ръбовете на предната броня. Същността на тяхната работа върху автомобилите е ясна: те са предназначени да пренасочват въздушните потоци (например отклоняването им от колелата), да балансират притискащата сила на предната и задната ос - като цяло подобряват аеродинамиката. Но Ford правилно отбеляза, че фиксираните канарди, както всеки друг аеродинамичен елемент, работят ефективно само при определени условия.
Активните аеродинамични елементи вече не са новост: отдавна сме свикнали с активните спойлери на спортните автомобили, които се сгъват при ниски скорости, разгъват се при високи скорости и дори могат да стоят изправени при спиране, намалявайки спирачния път. Ford предлага да направи същото с канардите. Вярно е, че досега всичко това също работи само на хартия: няма прибиращи се канарди в списъка на активната аеродинамика дори в шедьовъра Ford Mustang GTD.
Прибиращи се канарди (ГАЛЕРИЯ):
„Бърнаут“ режим при електромобили
Това е един стар трик, който Ford патентова за своите „електрически превозни средства“ – добрия стар бърнаут (пилене на гуми).
Всъщност Ford предлага един вид „линейно заключване“, блокиращо спирачката на едната ос, докато задвижва втората, „за да осигури активно потегляне от място и свързаното с това нагряване или пушене на гумите за подобряване на сцеплението“.
Това е може би най-разширеното и скучно определение на думата „бърноут“. Самият процес в електрическа кола обаче също е видимо по-скучен, отколкото в конвенционален автомобил. Следователно, Ford предлага възможността за приплъзване както на предния, така и на задния мост, както и възможността за внезапно подаване на мощност към втората ос по време на бърноут при първата, което на теория може да осигури краткотрайно пилене и с четирите колела.
Пилене на гуми при електрическа кола (ГАЛЕРИЯ):
Разтегателна каросерия за пикапи
В Русия проблемите с пикапите са непознати за масовата публика, но в САЩ пикапите все още се купуват от тези, които никога не са държали лопата в ръцете си и не планират да носят нищо друго отзад, освен въздух. А производителите от своя страна продължават да мислят как да ги продават по-ефективно, включително чрез техническо ноу-хау. Ford, например, предложи две опции за удължаване на каросерията на пикап за транспортиране на дълги предмети.
Първият вариант е "прост". В този случай, вместо сгъваема задна врата се използват врати с панти, които имат допълнителни секции, които се сгъват назад на 90 градуса. А подът на каросерията е направен така, че да се плъзга: дълга секция отзад и няколко малки секции отпред, обикновено сгънати като акордеон. Ако е необходимо, задните врати се отварят на 90 градуса, а допълнителните им секции се разгъват, за да образуват задна врата. Е, подът просто се движи назад, използвайки сгънатите секции.
В по-сложна версия цялата задна част на каросерията се плъзга отстрани върху водачи - заедно със задните светлини и точките за монтаж на задната шарнирна страна. Подът в тази схема се раздалечава по същия начин - с „акордеон“ в предната част. За да направи концепцията още по-практична, Ford предлага добавяне на отделения за съхранение към страничните стени.
Разтегателна каросерия (ГАЛЕРИЯ):
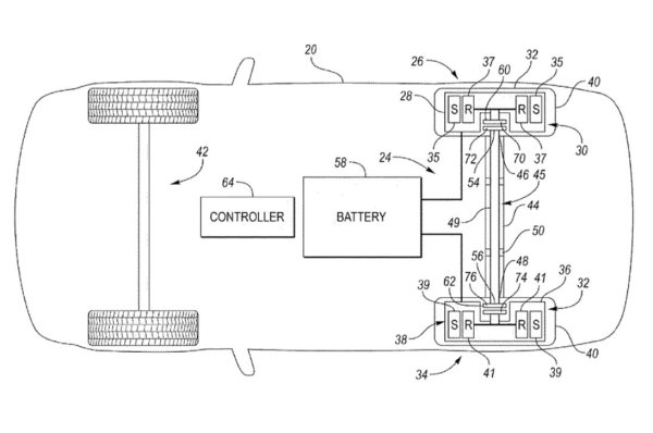
Непрекъснат заден мост с колела за електрически превозни средства
Непрекъснатият мост в съвременните автомобили оцелява само на SUV и дори тези коли постепенно преминават към независими окачвания. В началото на годината обаче Ford патентова доста необичаен дизайн – непрекъснат мост с колела.
Решението може да се счита за необичайно не толкова от гледна точка на устройството, колкото от гледна точка на логиката. Самите колела вече не са новост, а мостът още по-малко. В същото време колелата не са намерили широко приложение в автомобилната индустрия, главно поради факта, че значително увеличават неподресорената маса и изискват висока плътност на монтажа.
Самият Ford се отказа от идеята да използва такива колела в своя пикап F-150 Lightning, посочвайки сред причините тяхната по-висока уязвимост към повреди и трудността да се „сприятеляват“ с конвенционалните спирачки. А в новия патент масата на самия мост се добавя към неподресорираната маса на колелата. Изглежда, че ако Ford сериозно разчита на използването на такъв дизайн, това ще бъде само в лекотоварни търговски автомобили.
Патент на Ford за непрекъснат заден мост с колела:
Реактивни микромотори
Трябва да признаем, че това не е патент от 2023 г., Ferrari го регистрира още през 2019 г. Но идеята е толкова необичайна, че не е за пренебрегване. В края на краищата италианците предлагат да превърнат кола или дори мотоциклет в друг космически спътник, който се подпомага в движението и управлението от малки реактивни двигатели.
Принципът на действие е прост: погледнете снимката на патента, за да разберете как инженерите предлагат да използват решението. При задно положение реактивният двигател може да помогне при ускорението, при предно - той може да се включи, за да съкрати спирачния път. Дюзата на покрива изглежда малко смешно, въпреки че практическият ефект от увеличаване на притискащата сила в завой или при висока скорост за подобряване на управлението може да бъде голям.
Интересни са и микромоторите под пода, които са предназначени да създават вакуум, който също привлича колата към земята и създава притискаща сила. Е, страничните дюзи могат не само да „управляват“ при завиване, но и спомагат за стабилизирането на автомобила в аварийна ситуация – при поднасяне или завиване.
Един значим проблем с цялата тази привидна простота е осигуряването на работата на тези микромотори. Ferrari предполага, че тези „тласкачи“, както ги нарича, могат да работят със сгъстен въздух и обикновено автомобилно гориво. В този случай основната роля се дава на пневматичните двигатели, които трябва да работят от резервоари под налягане от 700-900 бара, налягането в което се предполага, че се поддържа чрез възстановяване на спирачната енергия или „външен източник на енергия“. Има и набор от цилиндри с високо налягане, да не говорим за реактивните микродвигатели - това не е нещо, което може лесно да се съхранява във всяка кола. Ето защо съществуват големи съмнения, че Ferrari ще се реши да използва тази „космическа“ технология дори в ексклузивни еднократни модели.

