Електрически подпомогнатото кормилно управление е почти универсално в автомобилната индустрия от повече от десетилетие. Но без значение коя компания проектира и внедрява системата, всяка една от тях има едно общо нещо. Ако търсите класическото усещане при управление, те са доста разочароващи.
Това е така, защото по някаква причина нито една от тях не може да осигури отзивчивостта и обратната връзка на механичните хидравлични системи. От Porsche обаче работят по нещо, за да решат този проблем.
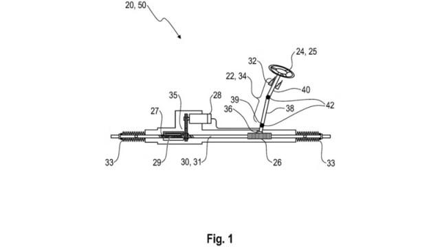
Всичко ли опира до триенето
Porsche патентова нов дизайн на електромеханична кормилна система. В него инженерите на компанията обясняват ясно какво не е наред с настоящите системи и, че електромоторът на кормилното управление елиминира всички хубави характеристики. Освен това той реагира по-бавно от конвенционалната хидравлична система.
Идеята на Porsche не се опитва да върне старото усещане по естествен път. Вместо това патентът описва начини то да бъде добавено изкуствено обратно в системата.
Може ли математиката да подобри управлението
Кормилната система ще следи какъв въртящ момент прилага водачът върху волана, както и до каква степен се опитва да го завърти. След това ще използва тази информация, за да предаде по-точни команди на системата какво да прави. В патента се посочва, че системата би могла „автоматично да регулира триенето в кормилната система и по този начин да осигури по-добро усещане при управление“. Това ще се базира на „общи познания“ за поведението на едно добро кормилно управление. Porsche ще може да има по-добър контрол върху усещането, подобрявайки както безопасността, така и комфорта.
Тази система може да използва изчисленията на въртящия момент от ръцете на водача, за да осигури по-добри реакции и да симулира класическото усещане. Тя може да работи и в обратната посока – да предава повече информация и вибрации от пътя обратно към ръцете ви.
Идеята идва и с някои полезни диагностични функции. Тъй като автомобилът знае колко триене и движение би трябвало да има в системата, и може да измери колко реално има, той може да разпознае кога частите се износват. След това може да компенсира това износване, но също така и да ви предупреди, ако частите достигат края на експлоатационния си живот. Дори и самите вие да не го усещате.
Представете си стара кормилна система, която нормално би се разхлабила, но все още се усеща като нова. Обикновено може и да не разберете, че тампоните или кормилните накрайници се повреждат. Тази идея може да ви осигури такава информация, че дори и повече. Възможно е дори да се добави усещане, което да симулира какво се случва на задния мост при система за управление на четирите колела.


1