Някои автомобилни производители, които инвестират в двигатели с вътрешно горене, рекламират водорода като бъдещето, докато други, като Porsche, настояват, че синтетичните горива са правилният път. Но Porsche току-що преобърна играта, като патентова двигател с вътрешно горене, който може да работи с бензин, дизел или водород и, което е може би по-важното, може сам да произвежда водородното си гориво.

Ако концепцията звучи безумно, то е защото наистина е така. Но това, което също е интересно, е, че Porsche няма абсолютно никакви планове въпросният двигател да работи изцяло на водород. В патента описва подробно как една самозареждаща се водородна система за горене може да спаси двигателите с вътрешно горене, като неутрализира техния стар враг: емисиите при стартиране.
И може би най-щурият елемент от заявката е, че системата ще използва резервоара за течност за чистачки като източник на този водород.
Превръщане на течността за чистачки в гориво
По същество проблемът, който Porsche се опитва да реши тук, е, че катализаторите не достигат пълна ефективност, докато не загреят. Водородът би бил начин за тяхното предварително загряване и последващо поддържане на температурата по време на шофиране.

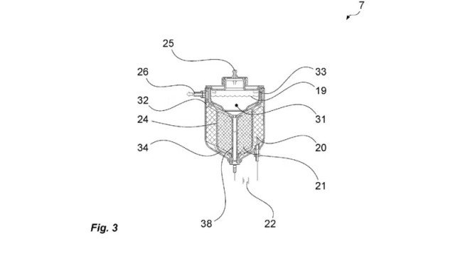
За да постигне това, Porsche ще се нуждае от водороден генератор в автомобила, който да поема вода и да я превръща в използваем газ. Това не е нова идея, тъй като съществуват комплекти за добавяне на водород към системите на автомобила, за които се твърди, че подобряват икономията на гориво, като спомагат за постигане на пълно изгаряне в горивните камери при условия на нисък въртящ момент.
Въпреки това, подходът на Porsche изглежда се състои във впръскването му директно в двигателя и използването на поне един цилиндър за извършване на задачата. Целта е катализаторът да се загрее до оптимална температура с помощта на особено горещи отработени газове. Porsche специално споменава „апарат за електролиза на Хофман“ (известен още като волтаметър на Хофман), който е един от най-простите налични начини за извършване на електролиза на вода до водород и датира още от 1866.

Porsche дори стига дотам, че споменава идеята за управляван от автомобила „Водороден режим“, който да предвижда кога колата ще бъде стартирана, или направо да запалва двигателя в този режим. Патентът също така е изричен относно разполагането на входа за водород след турбокомпресора и използването на специфичен за всеки цилиндър вход, за да се избегне „нежелано възпламеняване“.
Това е доста сложна юридическа терминология, която по същество се свежда до следното: съхраняване на стабилна вода вместо потенциално летлив водород, превръщането ѝ във водороден газ при необходимост и впръскването му директно в цилиндъра, за да се гарантира, че няма да експлодира във всмукателния колектор. Водородът, макар и горим, не е непременно идеален източник на гориво за двигател с вътрешно горене и е склонен към преждевременна детонация.
Край на течността за чистачки
Вместо да използва отделен съд за водата, необходима за електролизата до водород, Porsche предлага използването на резервоара за течност за чистачки. Очевидният проблем тук е, че много хора използват специализирани течности, а на места, където има условия за замръзване, е необходимо да се предотврати превръщането на течността за чистачки в лед. Porsche не споменава система за подгряване на течността. Но това ни дава представа колко малко водород може да е необходим, за да се постигне желаният ефект.

Това не е нещо, което бихме очаквали от Porsche, но определено има смисъл, когато става въпрос за удължаване на жизнения цикъл на мощните двигатели с вътрешно горене в условията на неумолимо затягащи се екологични регулации. Водородът ще бъде необходим само докато катализаторът достигне оптимална температура.
Това означава, че добавеното оборудване ще бъде минимално, а методът с апарата за електролиза на Хофман не е сложен. Въпреки че, ако някой би могъл да го усложни и някак си да го подобри в процеса, това би било точно Porsche.


0