Най-новите патенти на Porsche показват, че компания гледа към бъдещето, но и назад в миналото. Три различни патента включват листови ресори. Технология на окачването, която всеки друг сериозен спортен автомобил изостави преди десетилетия и която дори Corvette вече не използва. Тя комбинира този ресор с вграден в колелото електрически мотор, показвайки, че старото и новото могат да работят заедно доста добре.
Първият патент включва поставянето както на електрическия мотор, така и на трансмисията му вътре в колелото, заедно със спирачките. Той използва листов ресор като част от усилието за „намаляване на общата височина на индивидуалното окачване на колелото“.
Дължината на амортисьорната стойка (макферсона) при модерното окачване до голяма степен се определя от това какъв ход на колелото е необходим на автомобила, но дължината на необходимата пружина също играе роля в това. Винтовите пружини заемат много вертикално пространство, докато листовите ресори, не.
Премахването на винтовата пружина позволява на Porsche да снижи бомбето на амортисьора. Това позволява различен дизайн, а от Porsche твърдят, че може дори да помогне за безопасността на пешеходците. Най-важното за шофьорите на Porsche обаче е, че премахването на винтовата пружина е полезно за рамото на обкатване. Това подобрява управляемостта.
В този първи патент ресорът заема мястото на една от връзките на долния носач. Той е къс, компактен и лек. Това запазва предното окачване на автомобила независимо.
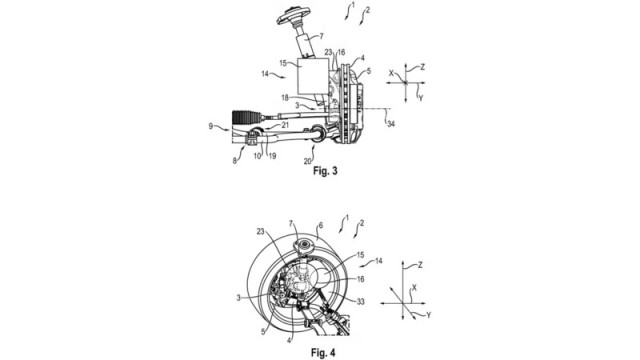
Системата позволява регулиране на височината и твърдостта
Вторият патент се фокусира върху самия ресор и начина, по който той ще бъде закрепен към автомобила. Той показва ресор от две части, свързан към шарнира в единия край чрез тампон, друг тампон в централната връзка и тампон, монтиран към автомобила от вътрешната страна. Вътрешната част е тази, която извършва по-голямата част от „пружиниращото“ действие, докато външната е по-твърда, движейки се нагоре и надолу, за да позволи ход на колелото.
Третият патент на Porsche обхваща начина на монтиране на ресора и какви възможности дава това на компанията. Той описва връзка с тампони, която би позволила на Porsche да регулира твърдостта на ресора чрез електрическо или хидравлично задействане. Този прост метод може да регулира твърдостта и да променя пътния просвет в движение, без необходимост от по-сложна система за въздушно окачване.
Днес, когато чуете за листови ресори, се сещате за пикапи, но плоските греди са поддържали купетата на почти всеки продаван автомобил в миналото. Преди това те са правили същото за каруците.
Някои спортни автомобили са доказали, че простото окачване с плоска греда може да работи. Най-забележителният пример е Chevrolet Corvette, който използваше напречно монтиран листов ресор отзад чак до поколението C7. Едва най-новият C8 го замени със задни винтови пружини заради средно разположения двигател.
Porsche не е използвала този дизайн преди, но е показала, че компанията е отворена към всичко в името на производителността. Porsche е използвала торсиони, където парче метал се усуква, за да осигури пружиниращото действие. Също така е известно използването на „моста Weissach“, започвайки от модела 928, който добавя точка на въртене в надлъжния носач, за да променя сходимостта при спиране, което помага за неутрализиране на презавиването при отнемане на газта.


0