Системите за намаляване на съпротивлението не са нищо ново; те са били основен елемент от състезателните автомобили повече от век. Но сега Lamborghini е на път изцяло да промени концепцията им, ако се съди по патентна заявка на италианската компания под шапката на Audi.

Технология, ключова за Формула 1
Системите за намаляване на съпротивлението (DRS) са най-известни с ролята си във Формула 1, където позволяват екстремните сили на притискане да бъдат намалени в моментите, когато болидът ускорява по правите. В състезанията тези системи са ключови; при "цивилните" автомобили за шофиране по улицитие - не чак толкова. Но въпреки това италианците смятат да ги променят с доста необичайна конструкция.

Подвижен спойлер без допълнително тегло
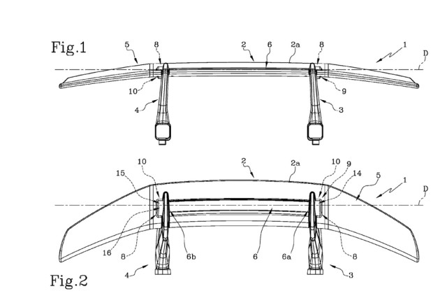
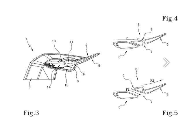
„Целта на това изобретение е да осигури компактна и лека аеродинамична система с променливо натоварване... Предимството е, че електромагнитният задвижващ механизъм, базиран на привличането и отблъскването на магнити с противоположни или еднакви полярности, може да бъде достатъчно компактен и лек, за да бъде инсталиран в аеродинамичната система“, се казва в патентната заявка.
Логиката на Lamborghini е разбираема: понеже скоростите при хиперколите стават все по-екстремни, непрекъснато се увеличават и размерите на антикрилата и останалите аеродинамични елементи. Съответно управлението им изисква все по-големи и тежки електромотори или пневматични системи. Идеята на италианците е да ги заместят със сложна система с магнити.

Подобна концепция работи при Airbus и Boeing
Основният, фиксиран спойлер има монтирани в него електромагнит и подвижна клапа с магнити върху нея. При създаване или изключване на магнитното поле, тези магнити подвигат или спускат клапата, без да има нужда от електромотори. Технологията е уникална за Lamborghini и не е използвана в автомобил до момента. Подобен принцип, но с по-различна конструкция, се използва при самолетите на Airbus и Boeing за въздушните им спирачки.
Не е ясно кога тази технология ще влезе в реално производство, но не бихме се изненадали да я видим в някои специални версии на актуални модели като Revuelto и Temerario.

