IMG Investor Dnes Bloombergtv Bulgaria On Air Gol Tialoto Az-jenata Puls Teenproblem Automedia Imoti.net Rabota Az-deteto Blog Start Posoka Boec Chernomore

Новите модели на BMW получават „умна“ радиаторна решетка

Това си доказва от патент, подаден в Световната организация за интелектуална собственост

BMW патентова нов преден панел, който може да замени традиционната радиаторна решетка. Снимки на на иновационната разработка бяха публикувани в интернет пространството.


BMW  решетка


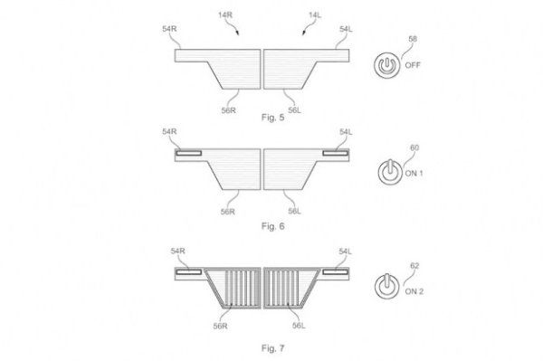
Много фенове на BMW смятат, че новите коли на марката имат твърде големи радиаторни решетки. Компанията обаче не възнамерява да спира дотук. в бъдеще се очаква те да са още по-големи. Това доказва новия патент от BMW, който е подаден в Световната организация за интелектуална собственост. Той демонстрира нова предна част от един модул, която заменя традиционната решетка.

Вместо да монтират решетката и фаровете отделно, компанията ще ги комбинира. Предният панел ще може да показва различни модели с помощта на LED светлини, а фаровете са скрити, докато не станат необходими.


Още снимки на новаия патент на BMW - вижте в галерията:


Разработката ще помогне не само да се разнообрази дизайна на бъдещите модели на марката, но и да ги направи по-рационални. Плоският преден панел ще осигури по-малко аеродинамично съпротивление. Външният слой на панела ще бъде прозрачен и изработен от поликарбонат. Вътре ще бъде монтиран друг слой светлоизолираща пластмаса, с непропускливо покритие, свързано с LED източника на светлина.


0 от 500
  • #10
    0 rate up comment 1 rate down comment
    Онуфри ( преди 3 години )
    Не знам, но ако се спънеш пред колата има възможност да паднеш в бъбреците и да не могат да те намерят после 2 месеца къде си..
  • #9
    0 rate up comment 0 rate down comment
    Кръвна група бмв ( преди 3 години )
    тва е 7 серия г70 това с сигурност ще е фейслифт версия
  • #8
    2 rate up comment 0 rate down comment
    Скъсани боксерки ( преди 3 години )
    Свиквайте. Това е бъдещето. Скъпи ЛЕД-Лего недомислици. Радвайте се на малкото останали истински автомобили!
  • #7
    4 rate up comment 0 rate down comment
    Класика ( преди 3 години )
    Супер! Отново нормални фарове! След толкова години на изчанчени дизайнерски извращения от обратеняци! Сега ако сложат и по два кръгли фарове вътре,най накрая отново истинско БМВ!....и решетките са супер и изчистено просто- супер ! Премахнато е всички изкривени паталогични отворчета,отвори,дупки,резки и срезове които ги има по новия скрап с електроника уж охладители ли,що ли!!!???.....-и отново просто красиво оформление! Най после разбраха че всичко по колите е отдавна измислено и е лесно!
  • #6
    8 rate up comment 3 rate down comment
    сашо ( преди 3 години )
    Интересно от кой пол е колата им имам чувството,че е трансгенен.
  • #5
    6 rate up comment 3 rate down comment
    сашо ( преди 3 години )
    Ханса вместо intelligent software да инсталира в коliте си занимава с простотии като ''' умна решетка' докато software to им е глупав проблемен.
  • #4
    6 rate up comment 2 rate down comment
    анонимен ( преди 3 години )
    А кога ще получат красива радиаторна решетка?
  • #3
    3 rate up comment 3 rate down comment
    IM-Drtiй-1-УАЙТBoY! ( преди 3 години )
    Допреди 2-3 петилетки правеха доста естет.приемливи машини, особено великолепния прототип ELEGANCE VISION с вдигащите се врати /пеперудени крилца/ за ок. 150 хилки в ЕВРО, к. за огромно съжаление на феновете им така и така НЕ видя бел свет, жалко за пърфект-дизайна му... А туй сега отпред нещо ми мяза на... картина от сорта на една полегнала млада Тодорка във ваната. Все пак и на мен фентъзито ми работи на високи обороти, м-Да!
  • #2
    10 rate up comment 3 rate down comment
    ВМБ ( преди 3 години )
    Дизайнът на БМВ, както външен така и вътрешен, години наред беше сред един от най-красивите. Последно време имам чувството, че дизайна на повечето модели го правят деца в детската градина.
  • #1
    9 rate up comment 3 rate down comment
    анонимен ( преди 3 години )
    Достигнали върха в автомобилостроенето, хахаха.