В едно телевизионно шоу американски тунинг-експерти поставиха LCD-дисплеи на най-неочаквани места в цялата кола по време на нейното усъвършенстване за клиент. Тогава се роди шегата: „Знаем колко много обичате мониторите, затова поставихме още един монитор във вашия монитор.“

Honda изглежда следва същия път, когато разработва активна аеродинамика за шестото поколение CR-V SUV, който дебютира това лято. В допълнение към подадената по-рано заявка за прибиращи се аеродинамични прагове за серийни автомобили, екипът на CarBuzz откри още една в Службата за патенти и търговски марки на САЩ. И в нея се описва дизайна на нов прибиращ се заден спойлер.
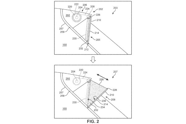
Тази част е изработена от лист гъвкав материал и функционира като ролетна щора, като се измества с помощта на електрически двигатели, когато е необходимо при високи скорости. И по същия начин тя се връща се в задното крило на задната врата, когато колата се забави ход и вече няма нужда от подобрение на аеродинамиката.

С това решение - прибиращ се гъвкав спойлер в спойлера, японците постигнаха, първо, възможността за регулиране на размера му в зависимост от скоростта и условията на шофиране. И второ - намаляване на теглото на цялата конструкция. Освен това, новият детайл няма да влоши гледката назад, тъй като през повечето време е скрит от любопитни очи.
Едно от правилата в автомобилната аеродинамика е, че колкото по-дълго е купето на автомобила, толкова по-малко съпротивление има. Следователно хибридните автомобили, проектирани за висока ефективност, често имат удължена форма. Това обаче може да влоши видимостта на водача, маневреността на автомобила и да усложни достъпа до багажното отделение. Следователно оптималното решение за подобряване на аеродинамиката често е по-големите задни спойлери на покрива или задната врата.
Още снимки на новия патент на Honda - вижте в галерията:
Благодарение на тях, по-специално, е възможно да се постигне по-малко замърсяване на задното стъкло с прах и мръсотия. А при дъжд може да получи по-малко вода благодарение на добре обмислената аеродинамика.


3