Немалко хора вярват, че китайските автомобили вече превъзхождат европейските. Това със сигурност е факт, когато става дума за екзотични екстри в автомобила. Последната от тях, регистрирана като патент от Seres Group, представлява... тоалетна, вградена в пътническата седалка на колата. И то не обикновена тоалетна, а такава с гласово управление.

"За нуждите на клиентите при дълги пътувания"
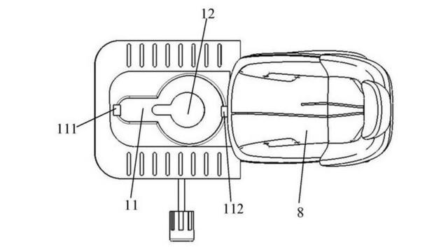
Функцията е предназначена да „задоволи нуждите на потребителите от тоалетна при дълги пътувания, по време на къмпинг или докато са в колата“, пишат инженерите в патентната заявка на Seres в Китай на 10 април.
Seres е производител на популярната и в България марка DFSK. Седалището й е в югозападния китайски град Чунцин. За момента обаче компанията не е обявила в кои модели евентуално ще въведе тази новост. За българското ухо комбинацията от името на производителя и характера на изобретението намеква за първоаприлска шега, но всъщност заявката си е съвсем действителна.

Предназначен за китайския пазар модел на Aito, дъщерната марка на Seres, която присъства и у нас чрез друг бранд - DFSK
Свирепата конкуренция в Китай води до караоке и сешоари в колите
Все по-ожесточената конкурнция на силно субсидирания китайски пазар кара местните компании да залагат на невиждани екстри - не само познати на европейците неща като масажни седалки или хладилници, но и караоке системи, вградени сешоари и всякакви други странности.
Бордовата тоалетна на Seres се плъзга от долната част на пътническата седалка с натискане или чрез гласово активирани команди.
Ще бъде оборудвана с вентилатор и "изпускателна тръба"
Според документите, подадени до китайската администрация за интелектуална собственост, видяни от BBC, тоалетната ще бъде оборудвана с вентилатор и изпускателна тръба, за да отвежда миризмите извън колата.
Отпадъците се събират в резервоар, който трябва да се изпразва ръчно - горе-долу по начина, по който става в по-луксозните кемпери. Тоалетната разполага и с въртящ се нагревателен елемент, който изпарява урината и изсушава други отпадъци.

Когато не се използва, тоалетната е скрита под седалката и не отнема излишно вътрешно пространство.
Не е първата тоалетна в лека кола - пионерът е... Rolls-Royce
Автомобилни историци обаче успяха да намерят доказателства, че подобна вътрешна тоалетна в автомобила е предлагана и преди - още през 50-те години като екстра за една специална версия на Rolls-Royce Silver Wraith.
В Китай Seres е известна най-вече с новата си марка за електромобили Aito. Тя е една от малкото китайски компании, които през миналата година реализираха печалба.
7 от най-абсурдните автомобилни екстри (ГАЛЕРИЯ):
Fiat 500L бе отчаян опит на италианците да направят подобие на семеен автомобил от трета цедка компоненти и платформи, сглобявани от легендарно надеждните работници в завода в Крагуевац, Сърбия. Накратко, това си остава една от най-отчайващите коли, които сме тествали последните две десетилетия. Но пък се предлагаше с машина за еспресо като допълнителна екстра. Придържате волана с едната ръка, а с други две управлявате машината.


0