Знаем, че Mercedes-Benz планира нови бензинови двигатели, тъй като навлизането на електрическите автомобили се забави. Сега знаем повече за тази нова серия бензинови двигатели благодарение на нов патент. Изглежда, че това може да е една от най-гъвкавите концепции след експериментите на Volkswagen с W-образните двигатели преди 20 години. Този нов двигател би могъл да предложи редови 4-цилиндрови и 6-цилиндрови конфигурации, а заедно с тях, нов V8 и нов V12.
При всеки нов двигател, особено от луксозна марка, целта е повече мощност, по-добра производителност и по-ефективно използване на всяка капка бензин. С новия си дизайн Mercedes-Benz се стреми да подобри всички тези показатели и изглежда, че разполагат с технология, която може да помогне това да се случи.
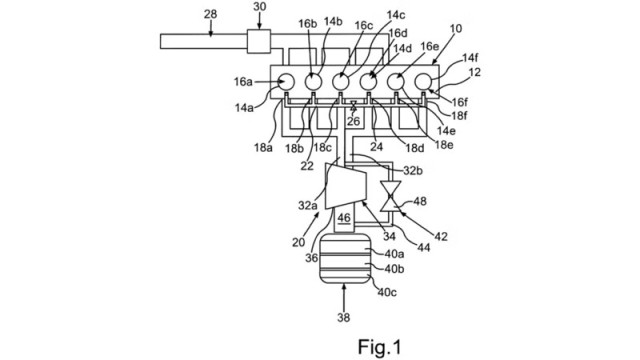
Тайната се крие в допълнителен канал за отработените газове за всеки цилиндър. В диаграмата на редовия 6-цилиндров двигател, която Mercedes-Benz показва, първите три цилиндъра са групирани, използвайки един канал, а последните три, друг. клапан свързва двете половини и може да се отваря и затваря. Диаграмата ги показва като външни тръби, но в действителност това е канал вътре в цилиндровата глава.
Mercedes-Benz посочва, че отварянето на клапана, за да се позволи на всички цилиндри да ползват тази споделена зона за отработени газове, може да намали помпените загуби и да подобри конските сили при по-високи обороти. Патентът твърди, че това е свързано с начина, по който тази връзка създава пулсации в потока на газовете в изпускателните портове.
Накратко, малка част от потока на отработените газове от някои цилиндри може да помогне за изтласкването на газовете от цилиндъра, чиито изпускателни клапани са отворени в дадения момент. Това помага за генерирането на мощност. Няма външен изход за този поток, освен обратно през двигателя.
Звучи ли това като рецепта за задръстени канали в цилиндровата глава поради мръсни отработени газове, нагар и натрупване на масло? Да, но това е проблем за инженерите на Mercedes и специалистите по гаранционните разчети.
Mercedes-Benz отново говори за V12
Това, което наистина ни заинтригува, е, че Mercedes вижда приложението на тази технология при множество комбинации от двигатели. Редовите 4-цилиндрови, 6-цилиндрови и, което е решаващо, V8 и V12 агрегати. Биха ли повдигнали тази идея, ако не планираха да произвеждат V12? Може би, но не вярваме да е така. Освен това Mercedes вече заявиха, че S-класата ще запази V12 двигателя за дълъг период от време.
Купувачите на премиум луксозни автомобили искат колкото се може повече цилиндри. Тези двигатели работят по-плавно, а емблемата им придава повече престиж. Ето защо Rolls-Royce продължава да произвежда V12 двигатели, защото за някои модели всичко по-малко просто не е достатъчно.
Този двигател, разбира се, също е с турбокомпресор. Дори днес V12 се нуждае от турбини, за да бъде възможно най-ефективен и мощен, улавяйки енергията, изгубена в отработените газове, и използвайки я за увеличаване на конските сили.
Описаният тук двигател не е същият като V8 с плосък колянов вал, който Benz патентова по-рано през годината. Онзи модел беше по-ясно описан единствено като V8 конфигурация. По-важното е, че в настоящия патент Mercedes-Benz посочва, че изпускателните канали изискват интервал на запалване от 120 градуса на коляновия вал, а не 180 градуса, както е при дизайна с плосък колянов вал.
Компанията потвърди, че разработва ново поколение V8 за своите AMG модели. Също така се увеличават разходите за научноизследователска и развойна дейност за други двигатели с вътрешно горене за други превозни средства. Да се надяваме, че поне един от тях е нова S-класа с блестящ нов V12 под капака.
нов


0