Toyota не само не губи вяра във водорода, но и продължава да развива тези технолии на два фронта - като горивни клетки и като двигатели с вътрешно горене. Доказателството е нов патент във втората област, заявен от компанията.
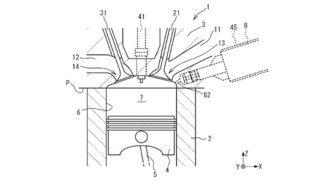
Патентните чертежи на Toyota показват цилиндър, който изглежда много сходен с този, който бихте намерили във всеки бензинов двигател с вътрешно горене. Има бутало, което се движи нагоре и надолу, четири клапана, разделени на всмукателни и изпускателни, както и запалителна свещ. Както при всеки двигател с директно впръскване, има и горивен инжектор. Патентът се фокусира върху инжектора и начина, по който Toyota го интегрира там.
Водородният инжектор прилича много на дюза за директно впръскване на бензин, но за разлика от нея, инжекторът за H2 не се подава навътре в горивната камера. Вместо това, той нагнетява водорода под формата на газ през малък отвор в цилиндровата глава. Toyota разчита на лесното смесване на водородния газ с въздуха, така че не са нужи фини разпръсквателни накрайници в горивната камера, както е при бензиновия двигател.
Задържането на водорода и налягането от горенето вътре изисква сериозно уплътняване, затова Toyota използва множество гарнитури и О-пръстени, за да изолира всичко. Тези уплътнения се нуждаят от смазка при монтажа им, и именно тази смазка се е оказала проблем. Патентът описва решението на Toyota.
Повечето смазочни материали са запалими, особено ако се намират в двигател.
В патента Toyota предлага използването на диметикон. Това е силиконов полимер, който се използва в огромен спектър от ежедневни продукти – от контактни лещи до храни. Той е нетоксичен, незапалим и би работил отлично в това приложение. При високи температури тече като мед, но при по-ниски температури е по-скоро като твърдо вещество. Перфектен е за използване при монтирането на инжектор. Също така се използва често като промишлена смазка.
Toyota няма да спре, докато не превърне водорода в реалност
От десетилетия насам Toyota залага изцяло на водорода като алтернативен източник на гориво. Всичко започна, както при много други автомобилни производители, включително GM и Hyundai, с използването на горивото за генериране на електричество в горивна клетка. Оттогава насам Toyota направи множество опити да изгаря водорода директно в двигател с вътрешно горене. Целта е той да се използва като заместител на бензина.
Тъй като водородът не съдържа въглерод, когато се изгаря на въздух, резултатът е вода. В процеса няма емисии на CO2. Въпреки това, той произвежда азотни оксиди, което все още е сериозен проблем за замърсяването на въздуха. Компанията работи върху понижаването на температурите на горене, което намалява тези емисиите, но същевременно може да понижи и ефективността. Ако водородът първоначално е добит от чиста енергия, тогава ефективността е по-малък проблем в сравнение с емисиите.
Водородното горене може би е на цяло десетилетие разстояние от масово внедряване, но Toyota продължава да го тества. Японският автомобилен производител е използвал превозни средства, изгарящи H2, в състезанието за издръжливост „24-те часа на Фуджи“. Компанията също така планира да участва с такъв автомобил в Льо Ман през 2028 г.


0