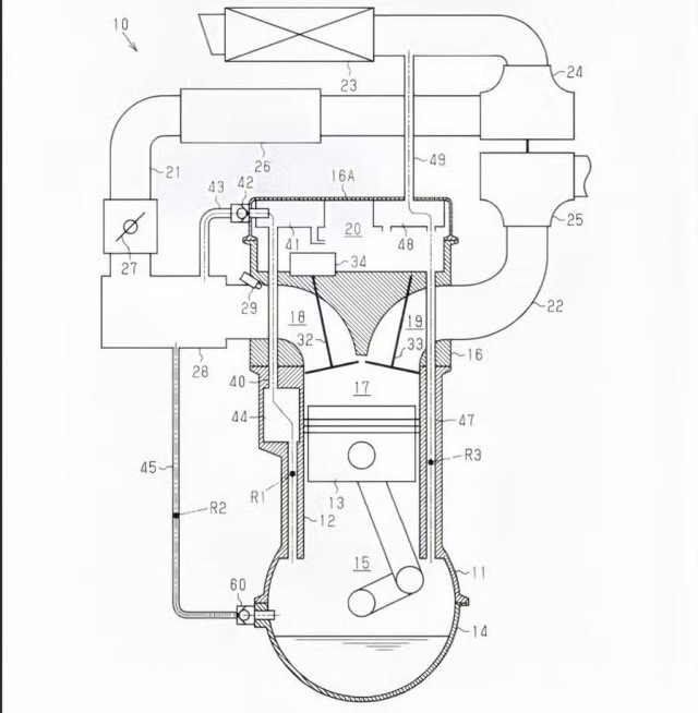
Toyota продължава да разработва водородни двигатели с вътрешно горене паралелно с горивните клетки. Компанията патентова ново решение за двигател, работещ на H2, за да намали вероятността от навлизане на масло в горивната камера и да направи двигателя по-стабилен и по-чист в експлоатация.

За разлика от класическия двигател с вътрешно горене, водородът образува повече влага в картерните газове по време на горенето, което води до емулсия, конденз и дори замръзване на вентилационните елементи. Toyota предлага модернизиран вентилационен канал на картера с еднопосочен клапан и модифицирано местоположение на устройството - по-близо до цилиндровия блок, където температурата е по-висока.
Подобно решение ускорява нагряването на системата и предотвратява натрупването на влага. В резултат на това рискът от маслена мъгла вътре във всмукателния отвор е намален, което подобрява екологичните характеристики и надеждността. Всъщност идеята се основава на обичайната PCV система, но адаптирана към условията на водороден двигател с вътрешно горене.

Водородните двигатели на Toyota вече се тестват в състезания и се готвят да участват в „24-те часа на Льо Ман’’ през 2028. Компанията също така експериментира с улавяне на CO2 и впръскване на вода за охлаждане на бутилките.
Въпреки слабата инфраструктура на бензиностанциите, водородният двигател с вътрешно горене остава начин за Toyota да запази ДВГ в света на автомобилите през 2035 и след това - с по-ниски емисии и познат дизайн.


4