Италианският производител Ferrari току-що получи патент, който разкрива повече от плановете му за електрически превозни средства. Патентът е за нов тип двигател, който според Ferrari ще произвежда повече мощност и ще бъде по-ефективен за задвижване на бъдещите модели. В същото време тази специфична заявка за патент дава поглед към някои други части от информацията.

От особен интерес е решението на производителя на суперавтомобили да премести компоненти като батерията далеч напред в колата. Този дизайн е предвиден за хибридни и plug-in хибридни задвижвания, но също така е и нещо много изненадващо за Ferrari - задвижване на предните колела.
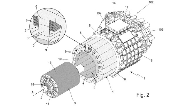
Патентът включва нов мотор, предна батерия и FWD.
В заявката за патент Ferrari казва, че новата им моторна технология „по предпочитане" ще бъде адаптирана така, че „да се върти само задните колела“, което е точно това, което купувачите на Ferrari искат. В следващият ред обаче е написано: „В друго вариант предните колела могат да бъдат задвижващи колела в допълнение или вместо задните колела“.
Означава ли това, че Ferrari наистина готви вариант със задно предаване на някой от бъдещите си модели? По-вероятно е начин компанията да си гарантира, че някой друг няма да наруши патента. По-интересното е, че инженерите в Маранело явно се стремят да избута батерията възможно най-напред. Това ще им позволи да запазят бъдещите си електрически модели максимално близо до земята, като в същото време ще им даде и по-добър баланс.

В патента се посочва, че батерията се намира в предната част на автомобила. Също така стана ясно, че това не е малък хибриден пакет. Ferrari предвижда капацитет от 50 кВт/ч или повече и 800-волтова система. Модулът за зареждане, който преобразува захранването на батерията, също ще бъде разположен отпред. Близо до батерията и между щепсела и пакета. Така че електромобилите на Ferrari след това ще се зареждат от предния калник или поне това е, което марката иска.
Конструкцията на двигателя обещава повече мощност и издръжливост
Що се отнася до двигателя, детайлите са много по-тънки. Ferrari иска да подобри сегашния трифазен електродвигател, при който магнитите са подредени в така наречения "Масив на Халбах". Ferrari казва, че текущата конфигурация е неоптимална и при високи скорости дори може да доведе до загуба на магнитните свойства на магнитите.

Вместо тази подредба, при която магнитите са подредени в цилиндър, Ferrari иска да добави прорези в корпуса на двигателя. Магнитите ще лежат в слотовете, заедно с допълнителни намотки и магнитни сърцевини, като така ще се преодолеят недостатъците на сегашните варианти. Това означава по-голяма ефективност и по-висока производителност.
Ferrari трябва да представи първия си електрически автомобил по-късно тази година. Очаква се това да бъде нов SUV, много подобен на V12 Purosangue, но с батерия и електромотори вместо ДВГ. Ръководителите на компанията настояват, че новата кола ще се движи и ще звучи емоционално като бензиново Ferrari, дори ако изживяването е различно.

