Tesla Cybertruck се отличава с радикален дизайн, който не прилича на нито един друг модел на пазара. Неговият дизайн е доста ъгловат, но може да се похвали с много иновативни функции. Една от тях е необичаен покрив, който да издържа тегло до 136 килограма, а това го прави най-издръжливия в своя сегмент.

Сега Ford Motor Company подаде патент, който може да направи F-150 да изглежда поне малко като Tesla Cybertruck. И подобна идея е напълно логична, тъй като пикапите на Ford приличат на тухли, а това ги прави врагове на аеродинамиката. За електрическите превозни средства обаче подобно нещо означава по-малък пробег, а при тези с ДВГ - по висок разход на гориво.
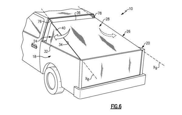
Създаденият от Ford транiформируем свалящ се покрив е специално проектиран да отдалечава въздуха от каросерията и да намалява съпротивлението, което позволява по-добра ефективност. Новата система се нарича Aero tonneau и се състои от три панела с триъгълна форма.

Има централна секция, която ще остане в багажното отделение, обхващайки товарното пространство, докато страните ще се повдигат, за да помогнат за намаляване на аеродинамичното съпротивление.
Подобно решение за отклоняване на въздуха ще намали броя на острите ръбове. Панелите ще се повдигат или падат в зависимост от скоростта на движение. Всички детайли са направени от устойчиви материали като полимер, фибростъкло, алуминий и композити.
Още снимки на новата система на Ford - вижте в галерията:

