Американският производител Ford е разработил нова ръчна скоростна кутия, която не изисква педал на съединителя. Заявката за „иновативната електронно управлявана трансмисия“ е подадена в Службата за патенти и търговски марки на САЩ.

Според документа новата механична скоростна кутия ще позволява ръчно превключване на предавките. В същото време, за тези, които искат да използват традиционния съединител, третият педал ще остане в автомобилите.
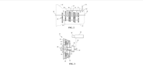
Новата скоростна кутия всъщност представлява ръчна трансмисия с електронен съединител. Електрохидравличният механизъм позволява предавките да бъдат превключвани само с помощта на селектора. Електрониката, отговорна за работата на традиционния съединител, получава сигнали от сензор за налягане на селектора на скоростите или от преобразувател, монтиран на третия педал.

В същото време последният няма механично задвижване и ще остане в автомобили за шофьори, които не са готови незабавно да изоставят класическото управление на превозно средство, оборудвано с механика скоростна кутия. Системата би трябвало да направи управлението на ръчната скоростна кутия по-съвместимо с хибридно задвижване.
Все още обаче от Ford не са посочили кога ще започне да се използва новата трансмисия. Експерти предполагат, че бъдещият Mustang, а също така всъдеходите от семейството Bronco и хибридните модели на Ford ще бъдат оборудвани с технологията. Възможно е технически сложната трансмисия да усложни поддръжката, както и да повиши цената на бъдещите автомобили на марката.
В галерията може да видите схемата на работа на новата скоростна кутия:
Снимки: Ford


0