IMG Investor Dnes Bloombergtv Bulgaria On Air Gol Tialoto Az-jenata Puls Teenproblem Automedia Imoti.net Rabota Az-deteto Blog Start Posoka Boec Chernomore

Mazda патентова хибридна система с роторен мотор

Тя ще е част от нова заднозадвижвана платформа

Измина близо десетилетие откакто Mazda произведе последните си автомобили с роторен двигател - с RX-8 през 2012 година. Оттогава насам, слуховете за наследник на ванкеловия мотор, използван от японците постоянно идват и отшумяват, но не видяхме нищо конкретно. За последно компанията обяви завръщането на необичайния двигател, в ролята му на удължител на пробега за електромобила MX-30.


Роторна хибридна система от Mazda


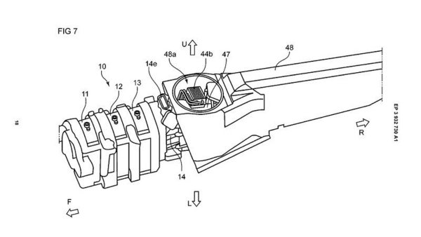
От Mazda все още натискат по отношение на роторното задвижване, по един или друг начин. Този път, японската компания подаде заявка за патент за нещо, което изглежда по-интригуващо от обикновен рейндж екстендър. В случая става въпрос за нов автомобил със задно задвижване, при който ванкеловият двигател е част от хибридна система.


Това не е първият път в който японците патентоват роторна хибридна система. Преди години компанията подаде заявление за автомобил с двигател с вътрешно горене и електромотор, като тогава бе заявено, че ДВГ може и да е роторен. Но новият патент показва ванкеловият двигател отпред, а освен това изглежда, че автомобилът от схемите ще използва трироторна компановка, подобно на купето Cosmo от миналия век.


Mazda RX-Vision


Все пак трябва да сме особено внимателни по отношение на заявките за патенти. Това, че даден автомобилен производител е решил да защити някоя своя техническа идея, съвсем не означава, че планира да развие тази идея и още по-малко - да подготвя нещо за внедряване в серийно производство в близко бъдеще.

Това, което може да ни дадат като информация представените скици е поне, че от Mazda явно все още не са решили да се предадат по отношение на развитието на ванкеловите двигатели. Ще ви припомним, че през изминалото лято компанията отново патентова свои идеи за роторен двигател, представяйки скици на задната част на купе автомобил. Дали това е намек за серийно производство на концепцията RX-Vision от 2015 година (на снимката) не знаем, но поне хвърля още гориво в слуховете за роторното купе.

Още скици на новата хибридна роторна система вижте в галерията:

0 от 500
  • #3
    10 rate up comment 2 rate down comment
    Швабен зи каскен ( преди 4 години )
    Дъното на автомобилната индустрия е т.нар. "чист дизел" и прилежащите му регулации направили го възможен. А за японците не берете грижа - те създадоха съвременните батерии без които електромобилите сега щяха да са немислими.
  • #2
    8 rate up comment 4 rate down comment
    APP ( преди 4 години )
    Поне се опитват да предложат нещо за прехода от двг към електрически. Защото сегашните предложение за Ел. автомобили освен че са скъпи нямат изградена достатъчно мрежа за захранване и сервиз Дългия пробег между зареждането е все още химера за тях. Не знам дали ще види бял свят този патент но нещо подобно ще се предложи. Японците не правят излишни експерименти за разлика от други в Европа
  • #1
    1 rate up comment 3 rate down comment
    112 ( преди 4 години )
    Няма какво да се лъжем, няма да прерасне в нещо реално ....