Компютърно „свързаните“ автомобилни врати не са нищо ново. Премиум марките вече предлагат системи за автоматизирано затваряне, моторизирани плъзгащи механизми и дори предни врати, които се отварят и затварят с едно натискане на бутон. Някои превозни средства дори интегрират сензори за предупреждение, когато наблизо има препятствие. Други се задоволяват с по-здрави ограничители, за да ограничат амплитудата на отваряне.
Подходът на Ford обаче се отличава със своята сдържаност. Не става въпрос за инсталиране на електромотори навсякъде, нито за разчитане единствено на класическо механично съпротивление. Тук технологията се активира само когато бъде засечен реален риск. Целта е да се предотврати прекалено рязкото отваряне на вратата или удрянето ѝ в препятствие, като същевременно се запази напълно естественото усещане при употреба през останалото време. В ежедневието нищо не се променя. Няма жужене на мотор, няма натрапчива автоматизация. Следователно, това означава и по-малко повреди.
Една доста хитра система за селективно спиране
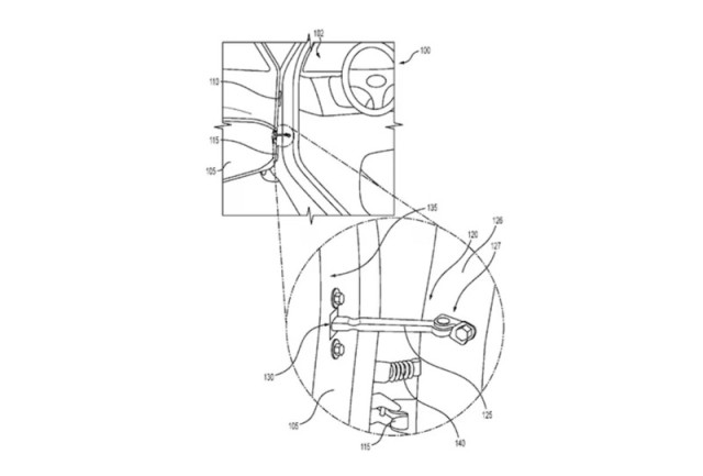
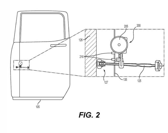
Патентът описва механизъм, който комбинира сензори, софтуер и компактно механично устройство. Акселерометър измерва скоростта на отваряне на вратата, докато друг сензор сканира непосредствената среда за препятствия. Ако системата прецени, че предстои сблъсък или прекалено рязко отваряне, тя задейства спирачка, интегрирана във вратата.
Спирачни накладки, лостове и пружини създават съпротивление, което забавя движението мигновено. След като опасността отмине, спирачката се деактивира автоматично.
Това, което прави това изобретение интересно, е именно неговият адаптивен характер. Класическите ограничители винаги оказват едно и също съпротивление, независимо от ситуацията. Моторизираните врати добавят тегло, разходи и сложност. Решението на Ford се позиционира между двете. Променливо съпротивление, без да се изпада в пълна автоматизация. Прагматичен компромис, който се намесва само когато е наистина полезно.
От патента до серийния автомобил има огромна пропаст
Ford подаде това заявление в Американското патентно ведомство през 2024, като то беше публикувано миналата седмица. За любопитните относно техническите детайли, пълният документ е достъпен за преглед. Но нека веднага охладим зараждащия се ентусиазъм около тази технология. Наличието на патент абсолютно не гарантира пускане в производство. Производителите редовно подават такива, за да защитят концепции или да проучат нови насоки, и огромното мнозинство от тях никога не напускат пределите на заводите.
Въпреки това, изобретението напомня, че дори най-баналните елементи на един автомобил могат да бъдат обект на иновации. Имайки предвид обаче скорошните неволи с електронните врати, можем да предположим, че Ford ще изчака, преди да въведе масово такава система. И ако тази технология действително види бял свят, да се надяваме, че ще включва добре обмислен ръчен резервен вариант. Защото „умна“ врата, която ви заключва в собствената ви кола, е съвсем различна история.


0