Германските автомобилни производители имат десетилетна репутация, че принуждават хората да купуват специализирани инструменти. BMW обаче успяха да вземат това изискване за специализирани инструменти и да го вдигнат на ниво, което никога не сме виждали досега. Последният им патент е за нова глава на винт, която ще накара механиците да побеснеят. Става въпрос за винт с глава, която представлява кръглото лого на BMW, и не може да бъде премахнат със стандартни инструменти.
Ако сте работили по автомобил на VW Group, Mercedes-Benz или BMW, знаете, че ще намерите крепежни елементи, които няма да откриете никъде другаде. Тройни квадрати (XZN), масивни Torx и шестограмни накрайници, дори и влудяващият E-Torx - това е само за начало. Това е преди изобщо да стигнете до гигантските гаечни ключове или вложки, които са ви нужни само за да свалите корпуса на масления филтър.
Този конкретен случай обаче кара механиците да побеснеят от ярост. Защото, ако BMW реши да ги използва, ще мине много време, преди да можете да си купите правилния комплект инструменти от обикновения магазин за инструменти или откъдето и да е другаде, освен от оторизиран дилър на BMW.
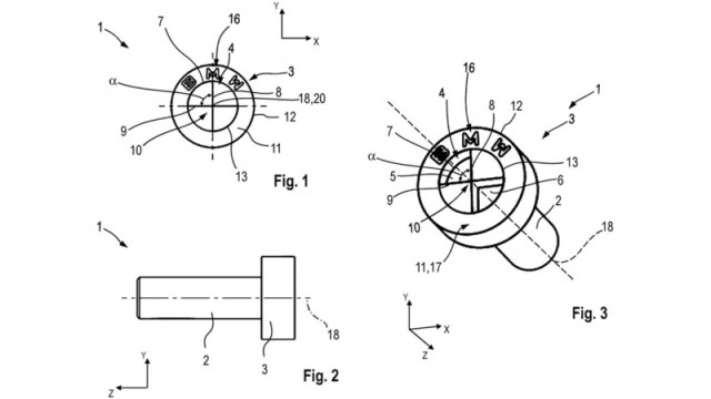
Става въпрос за главата на винта, по-точно вид винт с глава с вътрешен захват. Вместо познатите ни права, кръстата, дори квадратна ответка или шестограм, това е историческото кръгло лого на BMW. Два от четирите квадранта са вдлъбнати, където влиза накрайникът на отвертката, а два са на нивото на повърхността. За допълнителен стил, логото на BMW е релефно щамповано в ръба на главата на винта. Само за да ви напомни кой е създал тази гадост.
Става въпрос да те държат настрана
Тук не става въпрос за добавяне на стил, или поне не напълно. BMW наистина искат да използват това, за да спрат хората да работят сами по колите си. В патента изрично се посочва, че „формата на вдлъбнатините за зацепване предотвратява развиването или затягането на винта с помощта на обикновени задвижващи инструменти, например от неоторизирани лица“. Това е цитат директно от BMW.
Идеята е да се използва на места, където крепежните елементи обикновено са видими. Местата за монтаж на седалките, например. Или други части, като свързването на „кокпита към носещата конструкция на каросерията“.
Използването му за тези приложения ще направи нещата още по-трудни за любителите. Това са места, където се използват големи крепежни елементи и умерено високи нива на затягане. С двузъб инструмент и декоративен пръстен, заемащ голяма част от повърхността на винта, чупенето на инструменти може да стане често явление.
Главата с вътрешен захват не е единствената. BMW включва версии с плоски глави, но с нормални конусовидни тела, и дори винт с кръгла глава и плоско тяло. Това означава повече места, където BMW може да използва тези крепежни елементи и повече инструменти, които ще ви трябват.
Тези нови болтове са пълна лудост. Всичко, което можем да направим, е да се надяваме, че те ще останат само като патент и няма да преминат към производство. Никога. В противен случай собствениците може да прекарат много повече време при дилъра или много повече време в търсене на добър независим сервиз, който е склонен да пипне това.


0