Bentley се сбогува с емблематичния си двигател W12 през юли 2024, затваряйки легендарна глава от историята си, продължила две десетилетия. И все пак, точно когато една история свършва, започва друга, тъй като Porsche разработва нова собствена версия на такъм мотор.

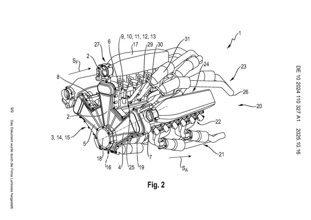
Германският производител е кандидатствал за този патент през миналата година, но едва сега стават ясно какво представлява той. Това е сложен W12 с три ясно изразени цилиндрични банки. Документът не се задълбочава в много подробности на пръв поглед, но отбелязва, че „цилиндрите на двигателя с вътрешно горене са подредени в W-образна форма’’.
Конструкцията на мотора е компактна, многослойна и проектирана с ясна мисъл за топлинна ефективност. Това което се откроява е начинът, по който е описана всмукателната система. Инженерите на Porsche са позиционирали камера за циркулация на въздуха точно над цилиндровите глави, позволявайки директен път на въздушния поток с почти вертикален спад в горивните камери. Това означава по-малка топлина, намалено разстояние за движение на входящия въздух и по-чисто отделяне от изпускателните клапани.

По-интересното в случая е, че корпусът на двигателя остава място за поставяне на два или три турбокомпресора. Това би било огромно предимство пред стария 6,0-литров W12 с двойно турбо , който задвижва най-забележителните модели на Bentley. В последния си вариант – на пуснатия в ограничен тираж Mulliner Batur, двигателят развива 750 к.с. и 1000 Нм.
Все пак трябва да се уточни, че в случая става въпрос за патент, а на за готова разработка. Това обаче означава, че Volkswagen Group не се е отказала от двигатели с W конфигурация и продължава да работи върху тяхното развитие. Истинският въпрос е дали това ще се превърне в нещо, което ще видим в бъдещи серийни модели или състезателни автомобили.

Подобна възможност оставя много място за спекулации, като една от най-интересните е, че това може да бъде нов двигател на Bugatti – все пак Porsche все още притежава голяма част от акциите на френския производител.


3