Измина близо десетилетие откакто Mazda произведе последните си автомобили с роторен двигател - с RX-8 през 2012 година. Оттогава насам, слуховете за наследник на ванкеловия мотор, използван от японците постоянно идват и отшумяват, но не видяхме нищо конкретно. За последно компанията обяви завръщането на необичайния двигател, в ролята му на удължител на пробега за електромобила MX-30.

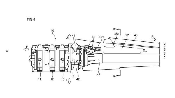
От Mazda все още натискат по отношение на роторното задвижване, по един или друг начин. Този път, японската компания подаде заявка за патент за нещо, което изглежда по-интригуващо от обикновен рейндж екстендър. В случая става въпрос за нов автомобил със задно задвижване, при който ванкеловият двигател е част от хибридна система.
Това не е първият път в който японците патентоват роторна хибридна система. Преди години компанията подаде заявление за автомобил с двигател с вътрешно горене и електромотор, като тогава бе заявено, че ДВГ може и да е роторен. Но новият патент показва ванкеловият двигател отпред, а освен това изглежда, че автомобилът от схемите ще използва трироторна компановка, подобно на купето Cosmo от миналия век.

Все пак трябва да сме особено внимателни по отношение на заявките за патенти. Това, че даден автомобилен производител е решил да защити някоя своя техническа идея, съвсем не означава, че планира да развие тази идея и още по-малко - да подготвя нещо за внедряване в серийно производство в близко бъдеще.
Това, което може да ни дадат като информация представените скици е поне, че от Mazda явно все още не са решили да се предадат по отношение на развитието на ванкеловите двигатели. Ще ви припомним, че през изминалото лято компанията отново патентова свои идеи за роторен двигател, представяйки скици на задната част на купе автомобил. Дали това е намек за серийно производство на концепцията RX-Vision от 2015 година (на снимката) не знаем, но поне хвърля още гориво в слуховете за роторното купе.
Още скици на новата хибридна роторна система вижте в галерията:


2